
產品概述
| 技術參數 | ●流量:0.5m3/h~300m3/h ●揚程:4m~11m ●液體溫度:-15℃~100℃ ●更大工作壓力:6巴 |
| 電機 | ●電機為全封閉,風冷式電機 ●防護等級:IP56 ●絕緣等級:F ●標準電壓:50hZ:1×220V 3×380V 60hZ:3×460V |
| 結構特點 | ●泵為非自吸,單級單吸臥式,軸向進水,徑向出水。 ●電機與底座固定,無需對泵體端進行另外支撐安裝,安裝方便。 ●采用后拉式結構,維修方便。 ●WLT 泵軸與電機軸采用同軸聯(lián)接,占地面積小,重量輕, WLTS 、 WLTSF 采用直聯(lián)型聯(lián)接加長軸結構。 ●葉輪、泵體采用水力模型設計,更佳工況依據市場需求定制,效率高。 ●葉輪、泵軸等關鍵部件均采用不銹鋼材料。 ●鑄件采用樹脂砂鑄造工藝,表面光潔、外觀質量好、組織致密。 ●WLTSF 水泵過流部件采用精密鑄造工藝,流道光滑,粗精度較小,外觀潔。 |
| 材質 | ●不銹鋼/鑄鐵 |
應用
該泵主要應用于閉式冷卻塔、冷凝器的水循環(huán);也適用于各種機組設備的冷卻;亦可用于某些大流量、低揚程場合。
產品適宜在清潔、稀薄、非侵蝕、非易燃易爆,且不含有任何可能對泵造成機械或化學損害的固體顆粒和纖維的液體中使用。而在液體粘稠或密度較大情況下使用時會造成泵特性曲線的下降和能耗的增加。
液體溫度:-15℃-100C
環(huán)境溫度:更高+40C
更大工作壓力:6bar

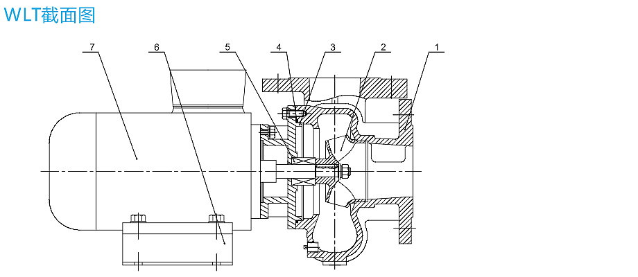
零件材料
| 序號 | 名稱 | 材料 | AISI/ASTM |
| 1 | 泵體 | 泵體 | 鑄鐵HT200 |
| 2 | 葉輪 | 不銹鋼ZG07Cr19Ni9 | AISI304 |
| 3 | 泵頭 | 鑄鐵HT200 | ASTM25B |
| 4 | O型密封圈 | NBR | |
| 5 | 刀口機械密封 | 碳化硅/碳化鎢 | |
| 6 | 底座 | Q235-B | AISIA570 |
| 7 | 電機 |
售后無憂

中泵科技是一家銷售不銹鋼多級離心泵的企業(yè)。公司建立了完善的營銷服務網絡,在不斷滿足國內市場需求的同時積極出口海外市場,產品廣泛應用增壓,工業(yè)應用,水處理,生活供水,空調水循環(huán),供暖,消防系統(tǒng),地下水供應,污水廢水處理,化工行業(yè)和海水淡化等諸多領域),銷售主導產品有:南方泵業(yè)CDL、CDLF系列不銹鋼輕型多級離心泵,CHL,CHLF,CHLFT系列不銹鋼輕型多級離心泵;NFWG無負壓變頻供水設備、DRL恒壓變頻供水設備






